






LZF倉壁振動器也稱防閉塞裝置、倉壁振打器,用于防止和排除各種料倉由于物料的內摩擦、潮解、帶電、成分偏析等原因引起的“堵塞”、“塔拱”現象;倉壁振動器也稱防閉塞裝置、倉壁振打器亦可用于清除各種倉壁、管道粘結物料,倉壁振動器也稱防閉塞裝置、倉壁振打器還可作為振動給料機、振動輸送機、振動漏斗、振動溜槽的振。LZF系列防閉塞裝置廣泛應用于冶金、化工、建材、火電、煤炭、食品、水泥、制藥、化肥、糧食、鑄造、陶瓷、磨料等行業中貯料倉的防閉塞之用。振動篩和振動電機
LZF系列倉壁振動器(防閉塞裝置)結構說明:
LZF型料倉振動破拱防閉塞裝置是應用振動電機的一個典型實例,該裝置以YZD型振動電機為激振源,采用焊接結構,臺架與振動電機采用高強度螺栓緊固。

LZF系列倉壁振動器可用螺栓把底座固定于料倉底部的倉壁上,也可直接把底座焊接在料倉上,其固定(焊接)要牢靠,與倉壁連接的剛度越好,其使用效果就越好。
LZF系列倉壁振動器(防閉塞裝置)結構及工作原理:
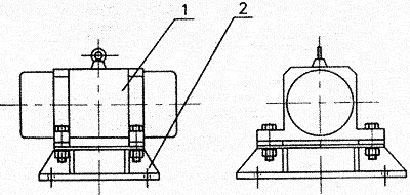
結構如圖所示。由振動電機(1),底座(2)兩部分組成。振動電機和底座由螺栓緊密地固定為一體。由于底座緊固地安裝在料倉壁上,這樣就構成了單質點定向強迫振動系統。

LZF型料倉振動防閉寒裝置采用電機作為激振LZF型料倉振動防閉寒裝置采用電機作為激振源。當LZF系列防閉塞裝置工作時,振動電機的高速轉動,便產生了對料倉壁的周期性高頻振動,由于防閉塞裝置的周期性振動,一方面使物料與倉壁脫離接觸、消除物料與倉壁的摩擦,另一方面使物料受交變速度和加速度的影響,處于不穩定狀態,從而有效地克服物料的內摩擦力和聚集力,以消除料倉內物料間的相對穩定性,使物料從料倉口順利排出
